Descrizione
VERRICELLO PER RIMORCHIO AGRICOLO TIPO DESTRO Ø 42mm tirafune rimorchio carrello
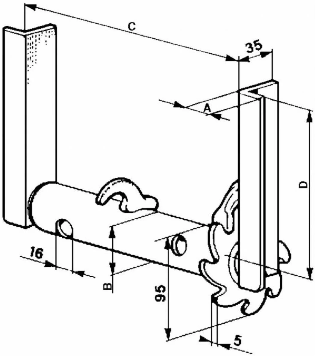
Questo prodotto, costruito in acciaio stampato a caldo, dispone di un tubo dalla lunghezza complessiva di 200 mm.
Funziona in modo molto semplice permettendo di rilasciare o tirare un carico attraverso l’avvolgimento di una fune.
In campo agricolo, risulta molto utile in situazioni che riguardano blocchi, affossamenti o impantanamenti: sfruttando il verricello, infatti, un mezzo di soccorso potrà riuscire a estrarre il mezzo in difficoltà.
![]()
CARATTERISTICHE ARTICOLO:
A mm 20.0
B mm 42.0
C mm 200.0
D mm 170.0






Recensioni
Ancora non ci sono recensioni.